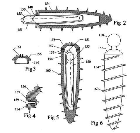
Их нравы: гроб-шуруп

+18

Комментариев 9

Офлайн
TheWorldIsMine
TheWorldIsMine 21 мая 2014 22:15
+ +11 -
ну тут уже фраза на том свете отлежишься, не проканает. Стоять долго придется)
Офлайн
DrAlexsandrov
DrAlexsandrov 21 мая 2014 22:41
+ +1 -
сразу же вспомнился совдеповский анекдот: На собрании гробовщиков стоял вопрос как уменьшить траты. Один встаёт и грит- а давайте не будем в гробах хоронить, в белье белое и в землю. второй-ну раз так, давайте , для по больше мест будем закапывать вертикально. А третий встаёт и грит, а можь и что б на памятники не тратиться, нах закапывать, а сразу в белье, цементировать и на постамент...
Офлайн
konolova
konolova 21 мая 2014 22:45
+ +1 -
В сибири не приживется ,зимой забивать тока ввинтить не прокатит
Офлайн
wlad
wlad 21 мая 2014 23:16
+ +3 -
Цитата: konolova
В сибири не приживется ,зимой забивать тока ввинтить не прокатит

http://www.youtube.com/watch?v=Qt5hJcsXsLM
Офлайн
vini79
vini79 22 мая 2014 00:08
+ 0 -
моей бабушке отбойным молотком могилу долбили! cray
Офлайн
Romaz
Romaz 22 мая 2014 03:45
+ 0 -
Гениально! А ежели чего забыл, можно спокойненько вывернуть шурупчик обратно!
Офлайн
Mortie 22 мая 2014 09:00
+ +6 -
Хватит уже закапывать в землю трупы. Даешь кремацию!
--------------------
Пусть будет так
Офлайн
Yosh
Yosh 22 мая 2014 13:36
+ 0 -
кремация-наше всё
Офлайн
xarizmatik
xarizmatik 22 мая 2014 14:55
+ 0 -
сжечь дотла
Информация
Посетители, находящиеся в группе Гости, не могут оставлять комментарии к данной публикации.